金大财富

【投资视角】启示2023:中国养老产业投融资及兼并重组分析-北京同仁堂股份有限公司并购计划

Lisa 0

——原标题:【投资视角】启示2023:中国养老产业投融资及兼并重组分析(附投融资汇总、产业基金和兼并重组等)

行业主要上市公司:

融捷健康(300247)、鱼跃医疗(002223)、以岭药业(002603)、凤凰股份(600716)等

本文核心数据:

养老产业投融资规模;养老产业融资金额;养老产业融资事件分布

1、养老产业投融资数量及金额

根据IT桔子数据库,2016年我国养老产业融资达到顶峰,发生融资事件共36起,融资金额共13.66亿元。2016年后我国养老产业投融资速度放缓,一直到2022年,融资事件开始逐渐回升,但融资金额呈现“爆发式”增长。2022年我国养老产业发生融资事件15起,较上年上升50%;融资金额为39.85亿元,较上年增加431.33%。

注:上述统计时间截止2023年4月,下同。

2、单笔投资金额2022年达顶峰

从单笔融资金额来看,2015-2023年除2022年单笔融资金额上升到数十亿元以上外,其次是2023年为5亿元,其他年份的单笔融资金额均未超过4亿元。

从养老产业的投资轮次分析,目前养老产业的融资轮次处于早期阶段,2015-2023年种子轮、天使轮以及A轮融资事件数量总计占比约81.5%,大部分仍集中在C轮以前。

3、养老产业投融资集中在北京、上海

从养老产业的企业融资区域来看,目前北京的融资企业最多,2015-2023年累计达到68起,2022年-2023年,我国养老产业共有投融资事件18起,其中北京、上海两地合计15起,为中国养老产业投融资最活跃的地区。

4、养老产业投融资集中在居家养老服务和智慧养老系统

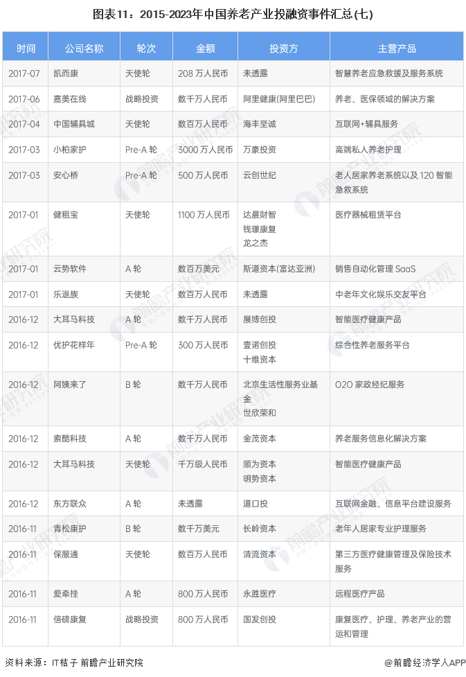
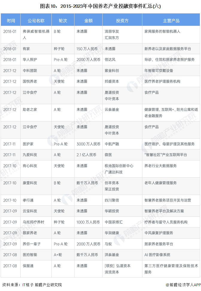
2015年-2023年我国养老产业的主要投融资事件如下:

从2020-2023融资企业的主营产品分析,居家护理养老服务融资占比逐渐上升,此外,医疗设备、医药研发相关投融资始终较多。

5、养老产业兼并重组汇总

近年来,国内养老产业兼并重组事件主要为并购事件,目的主要是相关企业为了拓展养老相关业务以及整合资源,实现多元化经营。

6、养老产业相关产业基金

目前养老产业的产业投资基金比较少,目前在中国证券投资基金业协会中查询到相关产业基金共6家,分别为:甘肃华龙养老服务产业发展基金管理有限公司、华夏东方养老资产管理有限公司、吉林省养老服务产业基金管理有限公司、中国石油集团养老资产管理有限责任公司、北京同仁堂养老投资管理有限责任公司、北京华夏惠众养老产业投资有限公司。

7、养老产业投融资及兼并重组总结

更多本行业研究分析详见前瞻产业研究院《

中国养老产业(银发经济)发展前景与投资战略规划分析报告

》。

同时前瞻产业研究院还提供产业大数据、产业研究报告、产业规划、园区规划、产业招商、产业图谱、智慧招商系统、行业地位证明、IPO咨询/募投可研、IPO工作底稿咨询等解决方案。在招股说明书、公司年度报告等任何公开信息披露中引用本篇文章内容,需要获取前瞻产业研究院的正规授权。

ogp影像测量仪

ogp光学影像测量仪

影像三次元

影像三次元

相关内容